انرژی های رایگان تولید برق رایگان

انرژی های رایگان تولید برق رایگان

انرژی های رایگان تولید برق رایگان

انرژی های رایگان تولید برق رایگان

هر چیزی زکاتى دارد و زکات دانش آموختن آن است به اهلش امام صادق علیه السلام ---
شر با شر خاموش نمی‌شود چنان که آتش با آتش، بلکه شر را خیر فرو می‌نشاند و آتش را آب. لقمان حکیم (علیه‌السلام) ---
زکات عقل تحمّل نادانان است. امام علی علیه السلام

ژنراتور خود پایدار با ابتکارات گوناگون و ترفندهای جالب 

Self sustaining generator


 ژنراتور خود پایدار با ابتکارات گوناگون و ترفندهای جالب 

Self sustaining generator


+++++

پیشنهاد میکنم برای نمایش وبلاگ از دو وبلاگ زیر استفاده کنید که سرعت نمایششون بالا هست تشکر


http://freeenergy.blog.ir


http://freeenergy.tebyan.net


+++++


ژنراتور خود پایدار یعنی ژنراتوری که بعد از روشن شدن مدارش خودش بتواند مدارش رو روشن نگه بدارد خواه به صورت مکانیکی خواه به صورت مدار الکترونیکی



برای دیدن تصاویر در ابعاد بزرگتر آنها را جداگانه باز کنید یا راست کلیک کردن و انتخاب گزینه ی View Image


======================

======================


استفاده از چرخ وزنه




ویدئوی اول


نشانی خط دریافت از پیکوفایل


نشانی خط دریافت از تبیان



نشانی خط دریافت از صندوق بیان
حجم: 29.4 مگابایت



نشانی خط دریافت از پرشین گیگ



ویدئوی دوم


نشانی خط دریافت از پیکوفایل


نشانی خط دریافت از تبیان


نشانی خط دریافت از صندوق بیان
حجم: 73.4 مگابایت


نشانی خط دریافت از پرشین گیگ



======================

======================


استفاده از چرخ وزنه مدل بزرگتر




نشانی خط دریافت از پیکوفایل


نشانی خط دریافت از تبیان


نشانی خط دریافت از صندوق بیان
حجم: 10.6 مگابایت


نشانی خط دریافت از پرشین گیگ






======================

======================



استفاده از سرعت خود موتور

استفاده از موتوری که مصرفش از ژنراتوری که برق تولید میکنه کمتر هست

مصرف برق موتوری که ژنراتور را حرکت میدهد کمتر از تولید برق خود ژنراتور هست





این تصویر از نمونه ای که در آپارات قرار دادم کیفیت بهتری دارد



نشانی خط دریافت از پیکوفایل


نشانی خط دریافت از تبیان


نشانی خط دریافت از صندوق بیان
حجم: 13.4 مگابایت


نشانی خط دریافت از پرشین گیگ




نشانی خط دریافت از آپارات با کیفیت پایین تر





======================

======================

استفاده از پمپ آب جت پمپ


پمپ آبی که مصرفش از ژنراتوری که برق تولید میکنه کمتر هست
با ابتکار خودتون میتونید این دستگاه رو به شکل دیگری بسازید
توجه داشته باشید حتماً از دستکش استفاده کنید و مسائل ایمنی رو جدی بگیرید


James Hardy’s Self-Powered Water-Pump Generator

This is a very simple device where the jet of water from the pump is directed at a simple water-wheel which in
turn, spins an electrical alternator, powering both the pump and an electric light bulb, demonstrating free-energy



selfrunning free energy machine

James Hardy’s Self-Powered Water-Pump Generator



نشانی خط دریافت از پیکوفایل


نشانی خط دریافت از تبیان


نشانی خط دریافت از صندوق بیان
حجم: 30.5 مگابایت


نشانی خط دریافت از پرشین گیگ




نشانی خط دریافت از آپارات با کیفیت پایین تر





-----------------------

James Hardy’s Self-Powered Water-Pump Generator


Another man has put a video on the web, showing a variation of this same principle. In his case, the flywheel is
very light and has simple paddles attached around the rim of the wheel

He then aims a powerful jet of water from a high-powered water pump, directly at the paddles, driving the wheel
round with a rapid series of pulses. The shaft, on which the wheel is mounted, drives a standard electrical
generator which lights an ordinary light bulb

The really interesting part comes next, because he then unplugs the electrical supply to the water pump and
switches it over to the generator which the wheel is driving. The result is that the pump powers itself and provides
excess electricity which can be used to power other electrical equipment.


James Hardy’s Self-Powered Water-Pump Generator

This is a very simple device where the jet of water from the pump is directed at a simple water-wheel which in
turn, spins an electrical alternator, powering both the pump and an electric light bulb, demonstrating free-energy


Initially, the generator is got up to speed, driven by the mains electrical supply. Then, when it is running normally,
the mains connection is removed and the motor/generator sustains itself and is also able to power at least one
light bulb. The generator output is normal mains current from a standard off-the-shelf alternator.
James has Patent Application US 2007/0018461 A1 published in 2007 on his design. In that application he points
out that a major advantage of his design is the low noise level produced when the generator is running. In the
video and the pictures above, the demonstration has the housing opened up in order to show how the generator
system works, but during normal use, the compartments are completely sealed.
In his document, James shows the overall system like this:




The housing is divided into three separate compartments. The first compartment has a strong axle shaft running
through it, supported on ball or roller bearings – possibly ceramic for this environment. The bearings are
protected by being covered by splash guards which keep the water (or other liquid) off them. A waterwheel of
almost any type is mounted on the shaft and a high-capacity water pump directs a stream of liquid on to the
waterwheel, striking the paddles at right angles in order to provide the maximum impact.
This first compartment is sealed in order to contain all of the liquid inside it and the bottom is effectively a sump for
the liquid. A pipe located near the bottom of the compartment feeds the liquid to the pump which is located in the
second compartment. The pump boosts the liquid through a nozzle, directing it at the waterwheel. While almost
any nozzle will work, it is usual to choose one which produces a concentrated jet of liquid in order to generate the
largest possible impact. One would expect that the larger the diameter of the waterwheel, the more powerful the
system would be. However, that is not necessarily the case as other factors such as the overall weight of the
rotating members might affect the performance. Experimentation should show the most effective combination for
any given pump.
The rotating shaft is given a third bearing supported by the side of the final compartment. The shaft then has a
large diameter belt pulley mounted on it, the belt driving a much smaller pulley mounted on the shaft of the
generator. This raises the rate at which the generator shaft is rotated. If the pump operates on AC mains voltage,
then the generator will be one which generates mains voltage AC. If the pump operates on, say, 12 volts, then
the generator will be one which generates 12 volts DC. The diagram above, shows the arrangement for a mains
voltage system as that is probably the most convenient. If a 12-volt system is chosen, then the inverter can be
omitted.
The generator is started by pressing the ‘normally open’ press-button switch marked “A” in the diagram. This
passes the battery power through to the 1-kilowatt inverter which then generates AC mains voltage. The switch
marked “B” is a “changeover” switch, and for starting, it is set so that it passes the AC power through switch “A” to
the pump. This causes the pump to turn on and direct a powerful jet of liquid at the waterwheel, forcing it around
and so powering the generator. When the generator gets up to full speed, switch “B” is flipped over,
disconnecting the inverter and feeding the generator power through to the pump, keeping it running and supplying
additional power to the output power sockets mounted on top of the housing. The press-button switch is released,
disconnecting the battery which is no longer needed. Switch “C” is an ordinary On/Off mains switch which is
needed if you want to turn the generator off.
A major advantage of this generator system is that the main components can be bought ready-made and so only
very simple constructional skills and readily available materials are needed. Another advantage is that what is
happening can be seen. If the pump is not working, then it is a simple task to discover why. If the generator is
not spinning, then you can see that and sort the problem. Every component is simple and straightforward.


James suggests that a suitable pump is the 10,000 gallons per hour    Torpedo Pump  



In this system, a small quantity of water is pumped around continuously, in the same general
style as an ornamental fountain. The difference here is that a high speed jet of water is produced and
directed at a turbine wheel. The turbine wheel can be of any type as indicated in the patent which James
has been awarded for this design. In the video at present on the web, the water wheel is of very simple
design and yet works well – it is shown here


Small discs are attached to the wheel at widely spaced intervals around it’s rim. The water jet hits these and
applies an impulse to the wheel, driving it around, but also adding extra energy through those impulses.

The waterwheel is coupled to a standard electrical generator via pulleys and V-belts. The system is started
using the mains supply and then when it is running at full speed, the electrical supply for the pump is
switched over from the mains to the output of it’s own generator. This is exactly the same as Chas Campbell
does with his pulsed flywheel and both systems are capable of powering additional standard electrical
equipment intended for mains use.






======================

======================

======================




استفاده از چرخ وزنه


The Chas Campbell System Free Power Self Powered  Generator free energy


Chas Campbell’s Flywheel System.
Recently, Mr. Chas Campbell of Australia demonstrated electrical power gain with a flywheel system which
he developed






نشانی خط دریافت از پیکوفایل


نشانی خط دریافت از تبیان


نشانی خط دریافت از صندوق بیان
حجم: 4.72 مگابایت


نشانی خط دریافت از پرشین گیگ



----------------------------


But what this diagram does not show, is that a couple of the drive belts are left with excessive slack. This
causes a rapid series of jerks in the drive between the mains motor and the flywheel. These occur so rapidly
that they do not appear noticeable when looking at the system operating. However, this stream of very short
pulses in the drive chain, generates a considerable amount of excess energy drawn from the gravitational
field. Chas has now confirmed the excess energy by getting the flywheel up to speed and then switching the
drive motor input to the output generator. The result is a self-powered system capable of running extra
loads.

Let me explain the overall system. A mains motor of 750 watt capacity (1 horsepower) is used to drive a
series of belts and pulleys which form a gear-train which produces over twice the rotational speed at the
shaft of an electrical generator. The intriguing thing about this system is that greater electrical power can be
drawn from the output generator than appears to be drawn from the input drive to the motor. How can that
be? Well, Mr Tseung’s gravity theory explains that if a energy pulse is applied to a flywheel, then during the
instant of that pulse, excess energy equal to 2mgr is fed into the flywheel, where “m” is the mass (weight) of
the flywheel, “g” is the gravitational constant and “r” is the radius of the centre of mass of the flywheel, that
is, the distance from the axle to the point at which the weight of the wheel appears to act. If all of the
flywheel weight is at the rim of the wheel, the “r” would be the radius of the wheel itself.


This means that if the flywheel (which is red in the following photographs) is driven smoothly at constant
speed, then there is no energy gain. However, if the drive is not smooth, then excess energy is drawn from
the gravitational field. That energy increases as the diameter of the flywheel increases. It also increases as
the weight of the flywheel increases. It also increases if the flywheel weight is concentrated as far out
towards the rim of the flywheel as is possible. It also increases, the faster the impulses are applied to the
system.


However, Jacob Bitsadze points out that another mechanism comes into play even if all of the belts are
correctly tensioned. The effect is caused by the perpetual inward acceleration of the material of the flywheel
due to the fact that it rotates in a fixed position. He refers to it as being ‘the rule of shoulder of Archimedes’
which is not something with which I am familiar. The important point is that Chas Campbell’s system is selfpowered
and can power other equipment




Jacob Byzehr’s Analysis.
In 1998, Jacob lodged a patent application for a design of the type shown by Chas Campbell. Jacob has
analysed the operation and he draws attention to a key design factor:

Jacob states that a very important feature for high performance with a system of this kind is the ratio of the
diameters of the driving and take-off pulleys on the shaft which contains the flywheel, especially with
systems where the flywheel rotates at high speed. The driving pulley needs to be three or four times larger
than the power take-off pulley. Using Chas’ 1430 rpm motor and a commonly available 1500 rpm generator,
the 12:9 step-up to the shaft of the flywheel gives a satisfactory generator speed while providing a 3.27 ratio
between the 9-inch diameter driving pulley and the 2.75” diameter power take-off pulley. If a generator
which has been designed for wind-generator use and which has it’s peak output power at just 600 rpm is
used, then an even better pulley diameter ratio can be achieved.



======================



شما میتوانید با موتور 220 ولتی که به یک اینورتر وصل هست دینام ماشین 12 ولت رو بچرخانید


The Wilson Self-Powered DC Generator
Mr. Wilson of Texas built a self-powered generator system using an old table and some car parts. His
construction was shaky, but in spite of that, it powered itself and other equipment. The table which he used
was five feet (1.5 m) in diameter and 2-inches (50 mm) thick which means that it will have weighed at least
130 pounds or 60 Kilograms which is a substantial amount, well in excess of that used by Chas Campbell
with his AC self-powered system. In this DC construction the system was driven by a standard, unmodified,
off-the-shelf DC motor powered by two car batteries wired in parallel to give a larger current capacity. These
batteries were kept charged up by two ‘generators’ from pre-1964 American cars (the closest available today
are permanent magnet alternators). These generators also powered additional equipment and Mr Wilson
pointed out that three or more generators could be run by the system, giving a substantial level of excess
electrical power.
The machine has to be described as ‘shaky’ because he chose to convert the table top into a V-pulley belt
drive flywheel by driving a series of nails into the edge of the wooden disc, with those nails angled to form a
V shaped gap through which he ran a pulley belt. After three days of continuous running, those nails started
to come out, causing him to power the system down. This unit was built around 1990, and if anyone decides
to attempt a replication, then I suggest that the rim of the wooden disc is grooved to take the belt rather than
relying on nails. The arrangement was like this:


There was also a belt-tensioning roller which is not shown in the diagram above which assumes that the
flywheel has been grooved to take the drive belt. Schematically, the arrangement was like this


Here, the additional output can be used directly for powering 12-volt equipment or an inverter can be used to
provide mains voltage and frequency. A typical inverter looks like this:





The battery power is connected to one end using thick cables to carry the heavy current, and one or more
mains sockets are provided at the other end of the case, along with an On/Off switch and power indicators.
Inverters come in many sizes and power ratings, generally ranging from 150 watts to 3,000 watts (3 kW).
The more expensive ones are specified as “True Sine-Wave Output” but very few present day items of
equipment will not run well on the cheaper versions which do not produce a true sine-wave output.


شما میتوانید با موتور 220 ولتی که به یک اینورتر وصل هست دینام ماشین 12 ولت رو بچرخانید





Self sustaining generator

======================

======================


استفاده از پمپ هوا


در این روش نیرویی حتی تا هزار کیلوگرم وارد میشه !!!

یعنی میشه از روغن هم به جای آب استفاده کرد!!!




A simple hydraulic, buoyancy-powered generator can be constructed, with two or more horizontal, rotating
shafts submerged in water in such a way that they are effectively positioned one above the other. Each
shaft has one, and preferably two or more sprocket wheels mounted on it. Each of these sprocket wheels
engages with a continuous chain loop which also engages with the sprocket wheel which is positioned
vertically above it. These vertical chain loops form a belt-style support for a series of identical buckets. On
one side of the vertical belt the buckets have their open face upwards and on the other side the bucket
openings are facing downwards. An air pump is positioned directly underneath the set of buckets which
have the bucket openings facing downwards. The air pump generates an upward-moving stream of air
which collects in the rising buckets, displacing the water filling the bucket. This results in a powerful upward
thrust caused by the buoyancy of that bucket, and the thrust causes the bucket to move upwards, rotating
both horizontal shafts and bringing another water-filled bucket into position above the air pump. A gearing
system transfers the rotation torque thus produced, to a generator which produces electricity for general
purpose uses.



This is a generator whose input shaft is rotated through buoyancy caused by air-filled containers submerged
in a tank of water or some other suitable heavy liquid. Continuous, powerful rotation of the generator shaft is
produced through the use of one or more conventional, commercially available air pumps. An air pump is
used to fill a series of containers which are open at one end and which are attached to what is effectively a
belt arrangement created by two strong chain-link loops which mesh with sprocket wheels mounted on two


shafts, either, or both of which can be utilised for the extraction of useful power, preferably for driving an
electricity generator but not necessarily limited to that function as any powerful torque has many useful
applications.


Objectives are to provide a power generation system which is very simple in form and which can be
understood, operated and maintained by people with minimal training. Also, a system which uses
components which are already readily available, thus avoiding significant manufacturing costs, and one
which operates without the need for any kind of complex mechanism or high-precision equipment and which
can operate with a wide range of commercially available products.




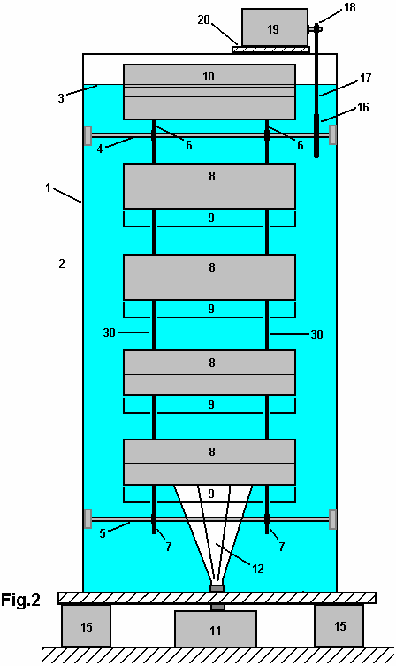
عکس دستگاه از جلو


Fig.2, is a cross-sectional conceptual schematic view showing the frontal aspect of the generator in its most
simple form.



شما میتوانید برای نیروی بیشتر از چند تا استفاده کنید


Fig.3, is a cross-sectional conceptual schematic view showing the frontal aspect of the generator where
more than one set of buckets is used.




دقت کنید قرار دادن یک قسمت ساده متحرک و دراز سبب راحتی در تنظیم کردن دستگاه میشه



Fig.4, is a perspective conceptual view showing arrangements for a simplified air-feed system which
operates from above the tank.



Fig.1, illustrates the overall concept of the generator in its most simple form where lightweight rigid buckets
are used to capture the rising air from the air pump. In this Figure, a water tank 1, holds water or other
suitable liquid 2. The surface of the liquid 3, is indicated to illustrate the fact that a bucket 10, which is in the
process of turning over at the top of its orbital motion, is positioned so that one edge of the bucket is clear of
the surface of the water, which allows the air which was trapped inside the bucket to escape into the
atmosphere and the water fill the entire bucket causing only a very minor turbulence when doing so. This is
a desirable, but not essential feature as the air trapped in any bucket will escape upwards as soon as the
bucket starts its downward movement, positioning its open end upwards, although this causes unnecessary
turbulence inside the tank. One possible bucket shape is shown in perspective view, but many different
bucket shapes may be used, including flexible membrane types or alternatively, hinged-plate types which
have very much reduced resistance to moving through the water when in their collapsed state during their
downward movement.

The buckets 8, 9 and 10, are attached to two strong chains 30, which mesh with the upper sprocket wheel 6,
mounted on the upper axle 4, and the lower sprocket wheel 7, which is mounted on the lower axle 5.
Although it is not visible in Fig.1, there are two upper sprocket wheels 6, two lower sprocket wheels 7, and
two chain loops 30, although these can be seen in Fig.2.

The tank is supported on a robust plate 14, which itself is supported by a series of pillars 15 which rest on a
secure footing 16, providing operating space underneath the tank for the installation and maintenance of the
air pumping equipment. As fresh water weighs 1000 Kg per cubic metre, the weight of the operational
generator system is substantial and so this must be allowed for when assessing the footing needed to
support the tank and it’s contents. While a thin-wall tank is shown in Fig.1, many different forms of tank may
be utilised, including earth bank and plastic membrane styles, or resurfaced abandoned well shafts. The
tank of Fig.1 presumes that the lower axle 5 is taken out through the wall of tank 1, using an arrangement
similar to that used for the drive shafts which power the screws of ships and other power vessels. While an
arrangement of that type provides a drive shaft which is conveniently close to the ground, the much more
simple arrangement shown in Fig.2 where the output power is taken off using the very simple chain and
sprocket wheel method utilised for the bucket supports (chain 30, and sprocket wheels 6 and 7). In general,
the more simple and straightforward any design is, the better it works in practice and the lower any
maintenance costs become.

Referring again to Fig.1, when activated, air pump 11 produces a stream of air 12, which flows rapidly
upwards. This stream of air 12, once established, does not have to push against the head of water as
immediately above the nozzle of the pump is a rapidly rising column of air, sustained both by the exit velocity
from pump 11 and the natural upward movement caused by the relative weights of water and air (as water is


several hundred times heavier than air). This column of air would normally flow straight upwards in calm
water, but should it be found that turbulence in the water tends to push the rising air away from its vertical
path, baffles can be placed around the pump and positioned so that the air stream is forced to stay within the
same section of water taken up by the rising buckets.

The rising air enters the lowest of the rising buckets and collects in it, forcing the water out of the open
bottom of the bucket. If the rising bucket is not completely filled with air before the next bucket moves
between it and the air pump, the trapped air will expand as the bucket rises and the water pressure reduces
due to the lesser depth. Any one bucket with a substantial amount of air in it will create a very significant
upward force due to buoyancy, air being about one thousand times lighter than water.
Each bucket on the rising side adds to that upward force and consequently, the chains 30 need considerable
strength. The weight of the buckets on each side of the chain match and so the main advantage of light
buckets is to lower the inertial mass of the moving parts. Movement through the water is relatively slow but
this is offset by gearing between the output drive shaft and the generator’s input shaft. The power of the
system can be increased by adding more buckets in the vertical chain, increasing the water depth
accordingly. Other ways of increasing the power include increasing the volume inside each bucket and/or
increasing the flow rate produced by the air pump or pumps used. Another simple method is shown in Fig.3
and discussed below. An alternative to air pumps is to use tanks of a compressed, non-polluting gas,
possibly air.
The buckets shown in the various Figures are rigid, very simple shapes, possibly made by a plastic moulding
process in order to be cheap, strong, lightweight and permanently water-resistant. There are, of course,
many possible variations on this including using rigid hinged plates sealed with a strong flexible membrane,
allowing the buckets to fold and become streamlined on their downward path, and opening as soon as they
turn to start their upward movement. There are many mechanisms which can provide this movement, but it
is a matter of opinion as to whether or not the extreme simplicity of rigid buckets is worth sacrificing

Fig.2 shows a schematic layout of the generator when seen from the side. The same numbers apply to the
components already seen in Fig.1. The arrangement seen in Fig.2 is the most simple, basic, single bucket
set. The near-side rising buckets 8 obscure the view of the far-side falling buckets 9 and only the lowest part
of the falling buckets 9 can be seen in this view. Fig.1 shows buckets which are some two and a half times
longer than they are wide, but this, of course, is just one option among literally thousands of possible
proportions. The size and shape of buckets is related to the performance and number of air pumps being
used for any one set of buckets and that choice depends on what is available locally at a reasonable price.
It would not be unusual for two or three air pumps to be used side by side along the length of the bucket 8
although Fig.2 only shows a single pump.
Fig.2 also shows a simple method for power take off where a large diameter sprocket wheel 16 is mounted
on the upper axle 4, and driving a much smaller diameter sprocket wheel 18 which is mounted on the drive
shaft of the electricity generator 19 which is mounted on plate 20 which is attached securely to the top of
tank 1.
Fig.3 shows one of the possible arrangements for increasing the system power without increasing the depth
of water used. Here, the axles 4 and 5 extend far enough to allow another set of buckets to drive them,
increasing the torque very substantially. While Fig.3 shows one extra set of buckets, there is, of course, no
reason why there should not be three or more sets of buckets side by side. It should be noted however, that
the partitions shown between the bucket sets are not there just to reduce the water swirling but are needed
to support the bearings which are essential for the extended axles, since without those, the diameter of the
bars used for the axles would have to increase very markedly to avoid unwanted flexing along their length.
While the second set of buckets has been shown aligned exactly with the first set, there is an advantage in
offsetting them relative to each other so that the output torque is more even with buckets emptying and filling
at different points in the bucket cycle.
Fig.4. shows a method for further simplification, where the air is pumped from above the water surface. It is
a matter of concern to most people, that the pressure of the head of water above the air pump is a major
obstacle to overcome and will be a continuous opposing force during operation of the generator. If air is
being injected from underneath the tank, then initially, that pressure head has to be overcome. However,
once the air flow is established, a vertical cigar-shaped area of water vortex is established by the rising air
stream. This three-dimensional annular vortex negates the water head in the small area immediately above
the air nozzle, and almost sucks the air out of the pump, after the initial introduction of the air has been
accomplished.

There is another way of achieving this desirable effect without ever having to pump against the total head of
water, and that is to use a mobile air pipe as shown in Fig.4. Initially, the air pump is started and lowered a
short distance into the water. The opposing head of water is not large and the water vortex can be
established quite easily. The pipe is then lowered very slowly, so as to maintain the vortex at a
progressively lower depth, where, in spite of the increased head of water, the pump does not have to
overcome that head. When the pipe outlet reaches the operational depth, it is then rotated to bring it under
the set of rising buckets. The major advantage of this arrangement is that the tank is as simple as possible,
with no possibility of leaking, and so abandoned wells can be modified to become energy generators.
Alternatively, an earth bank can be erected to form an above-ground tank, possibly sealed with a plastic
membrane. This method also avoids needing to support the weight of tank and water above a work-area
where the air pump or compressed-air cylinders are located and maintained. The creation of the water
vortex can be assisted by the addition of a cowl around the pipe exit as shown in this figure, but that is an
optional feature.



نگهداری از این مدل دستگاه کار ساده ای است









======================

======================

======================


کلمات برای جستجو در اینترنت


Motor Flywheel energy for freedom Self Powered

energia libera punctu zero Self Powered

SELFRUNNING FREE ENERGY MACHINE James Hardys Self Powered Water Pump Generator

Water Jet
Chas Campbell  Free Power Self Powered  Generator
Replica del generador inercial de energia libre de CHAS CAMBELL
The Wilson Self Powered DC Generator Free Power Self Powered  Generator

Self sustaining generator

FUELLESS GENERATOR

Fueless self-sustaining generator invented by Edo State school teacher

MOTOR GENERATOR



Home made (DIY) 12V DC 50A generator
free-energy-zero-point-home-generator
Home Made Alternator Generator
Homemade Battery Charger  and  Generator
Homemade generator 3
DC Generator  Made From A Lawn Mower Engine And Alternator
Homemade generator 2







       


*************************************

*************************************

*************************************

بسم الله الرحمن الرحیم


"یا نُورُ یا بُرْهانُ ، یا مُبینُ یا مُنیرُ ، یا رَبِّ اِکْفِنى الْشُّرُورَ ، وَ آفاتِ الدُّهُورِ ، وَ اَسْئَلُکَ النَّجاةَ یَوْمَ یُنْفَخُ فِى الصُّور"


اى نور و اى دلیل روشن ، و اى آشکارکننده‌ى نوربخش ، پروردگارا کفایتم کن از شرور ، و آفات روزگار ، و از تو خواهم رهایى را در روزى که دمیده شود در صور

*************************************

*************************************

*************************************


الّلهُمَّ صَلِّ عَلَی مُحَمَّدٍ وَالِ مُحَمَّدٍ وَعَجِّلْ فَرَجَهُمْ




اَللّهُمَّ صَلَّ عَلی سَیَّدنا مُحَمَّدٍ مَا اخْتَلَفَ الْمَلَوان وَ تَعاقَبَ الْعَصْرانِ وَ کَرَّ الْجَدیدانِ وَ سْتَقْبَلَ الْفَرْقَدانَ وَ بَلَّغْ رُوحَهُ وَ اَرْواحَ اَهْلِ بَیْتِهِ مِنَّا التَّحِیَّةَ وَ السَّلامُ



  • ۹۲/۱۰/۱۸
  • kamran31224